** Сайт посвящённый ПЭВМ АГАТ **

Контроллер локальной сети (2/88)

УДК 681.327.8 : 681.326 : 681.324

Е.Н.Глыбин, С.В.Козаренко, К.М.Левин.

В этом тексте идет речь о опытной (не экспериментальная/ не серийной) плате Контроллер сети

Цель статьи - описание технических операций, использованных при разработке контроллера локальной информационной сети персональных ЭВМ. Сеть представляет собой моноканал из коаксиального кабеля с терминаторами на концах для согласования с полновым сопротивлением линии. К моноканалу (его длина до 1 км) с помощью сетевых контроллеров подключается ПЭВМ «Агат». Соединение контроллера и моноканала электрически пассивное. Передача данных осуществляется побитно с применением абсолютной фазовой модуляции (манчестерское кодирование). Сетевой контроллер - внутренний модуль ПЭВМ, его основной узел - универсальный синхронно-асинхронный последовательный приемопередатчик (УСАПП)-программируемая БИС KP580BB51A (рис. 1). УСАПП работает в режиме внутренней синхронизации. Особенность режима - прием данных и побайтная синхронизация начинаются с момента поступления синхросимвола, состоящего из одного или двух байтов, на распознавание которых запрограммирован УСАПП. Синхросимвол используется для адресации сообщения абоненту, число абонентов может достигать 256, скорость передачи информации - 62,5 кбит/с.

Функции контроллера: побайтно принимает информацию от центрального процессора (ЦП), кодирует, побитно выводит в линию связи, принимает из линии связи, декодирует, формирует в байты, передает ЦП, выдает информацию ЦП о состоянии-линии связи: сигнал «Несущая» при занятой линии и «Конфликт» при работе в сети более одного передатчика; реализует функции физического уровня и частично канального уровня семиуровневой модели открытых систем Международной Организации Стандартизации.

Для организации обмена информацией используется множественный доступ с контролем несущей и обнаружением конфликтов (МДКН/ОК).

Управление узлами контроллера осуществляет адресный дешифратор, формирующий сигналы управления: выбор кристалла УСАПП и регистра адреса абонента.

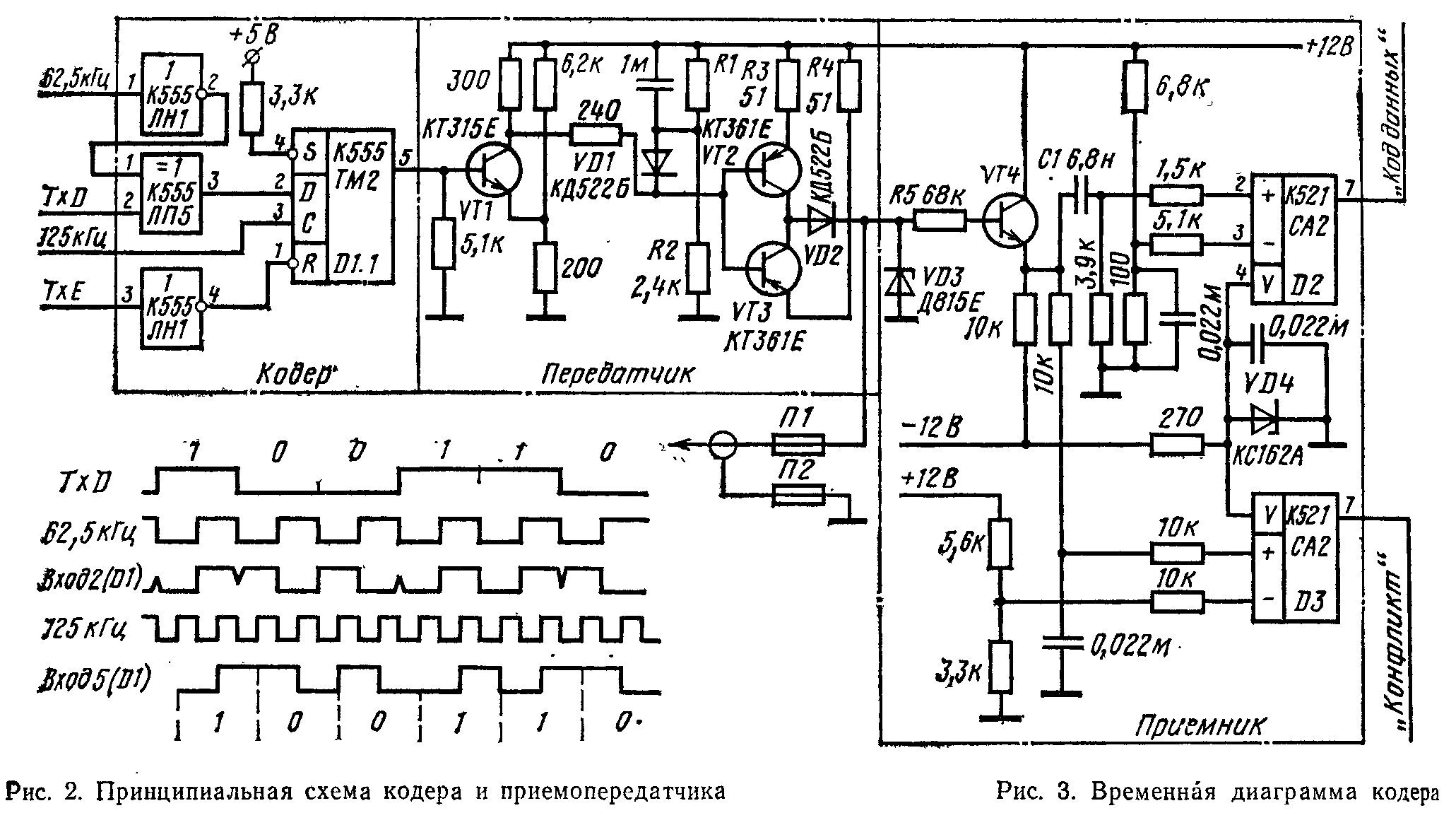
Формирователь тактовых частот стробирует УСАПП и кодер в режиме передачи (рис. 2, 3).

На входе приемника включен эмиттерный повторитель на транзисторе VT4 для уменьшения отражений сигнала в кабельной линии связи. Для защиты аппаратуры от случайного появления в линии связи высокого напряжения предусмотрены: стабилитрон VD3, резистор R5 и предохранители П1, П2.

Для повышения помехоустойчивости по высоким частотам сигнал, поступающий с приемника, стробируется частотой 1 МГц на триггере D1.2, а по низким частотам сигнал фильтруется на конденсаторе C1.

В декодере «Код данных» преобразуется в сигналы «Синхронизация приема» и «Данные приема» (рис, 4).

На вход компаратора D3 поступает постоянная составляющая сигнала в линии. При наличии двух и более одновременно активных передатчиков в линии на выходе компаратора D3 сигнал «Лог. 1» («Конфликт») через мультиплексор D6 подается на вход DSR УСАПП. Линия «Выбор сигнала» управляет мультиплексором. Уровень этой линии программно задается разрядом D5 в командном слове УСАПП.

Если в потоке данных встречается синхросимвол, на который запрограммирован УСАПП, то вырабатывается сигнал «Прерывание» для ЦП на выходе SYND. Уровню сигнала на выходе SYND соответствует значение разряда D6 в регистре состояния. В результате прочтения регистра состояния УСАПП сигнал «Прерывание» снимается.

Адрес абонента устанавливается при помощи движкового восьмиразрядного переключателя регистра адреса абонента. Предусмотрена возможность считывания процессором содержимого этого регистра.

Для передачи данных другому абоненту ЦП формирует сообщение, содержащее в заголовке адрес абонента-получателя (синхросимвол, состоящий из двух байтов), программирует УСАПП в режим передачи и выдает сообщение в линию в соответствии с протоколом обмена (УСАПП абонента-получателя должен быть предварительно запрограммирован на прием).

Одновременная посылка сообщения группе абонентов осуществляется указанием их адресов в заголовке сообщения.

В потоке данных могут встречаться комбинации байтов, совпадающие с адресом абонента, что приводит к выдаче ложного прерывания ЦП. Если при обработке прерывания выяснится, что сообщение абоненту не принадлежит, то контроллер устанавливается в начальное состояние, а затем переводится в режим приема.

Контроллер предназначен для создания локальной сети ПЭВМ «Агат». Опытные образцы контроллера прошли испытания и показали высокую надежность передачи информации. В настоящее время разрабатывается сетевое программное обеспечение.

Телефон для справок: 330-05-74, Москва Статья поступила 12 марта 1987 г.

* * *

* * * * * * * * * * * * * * * * * * * * * * * * * * * * * * * * * * * * * * * * * * * * * * * * * * * * * * * * * * * * * * * * * * * * * * * * * * * * * * * * * * *